About as
Products
Reinforcement systems
Punching shear reinforcement
Screwed connection reinforcement - Extrea Tec
ExBox-rebend connection reinforcement
X-TEC shear load connectors
Accessories for concrete
Formwork systems
Formwork accessories
Extrea - spacers
Construction equipment
Seals for concrete
ActiTex mattes
Extrea sealing tapes
ErFlex system
Expanding tape
Extrea Tube system
Sikadur-Combiflex tapes
Thermotec -balcony connectors
Elastomers
Unreinforced elastomers
Bearings
Health and safety equipment and accessories
Download
Catalogs
Technical Data Sheets
Software
Projects
Contact
/
products
/
Accessories for concrete
/
Formwork accessories
/
Single-side anchor
/
Anchoring - small
Anchoring - small
Download
Product card
Ask for the product
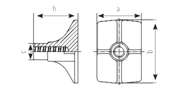
Assortment
Art. no.
Designation
a
b
c
h
Package
Weight
mm
mm
mm
mm
pcs
kg/pcs
23901
Anchoring - small
56
82
26
58
1
0.45